What is the De Dion Axle that Some Cars and Trucks Use?
It sounds strange and looks equally as strange on paper, but the De Dion axle offers some advantages over traditional rear suspensions. And disadvantages.
The world of automotive suspensions is filled with interesting, failed, and just rather wacky attempts at controlling the movements of the wheels and body of your truck, SUV, car, and everything in between. One that has recently garnered attention is the De Dion (sometimes spelled as “DeDion” or even “de Dion”) thanks to its proposed use in the Slate Auto Truck. The history and use of the De Dion isn’t limited to Slate’s recent announcement and has seen implementation in a few major auto manufacturers like Mercedes Benz, Ford, Alfa Romeo, Smart and others. But what is it and why does it look like a weird sort of IRS or IFS?
Before We Go Further

If you like the content on Carbage and want to see more or just want to contribute, be sure to support this site on Patreon. We know that even asking for $1 per month in the time we’re all having now is a lot to ask of you all but know that it will go to some amazing photographers this year as we cover the 2025 Formula Drift season and possibly beyond. And, yes, you have read that right: Carbage is hiring photographers for individual rounds the 2025 season. We have an amazing photographer lined up for Round 2 and Round 8 will be covered by your author, but we need photogs for every other round. If you or someone you know would be interested, let them know to us know at jbannerautos@gmail.com and provide example images of your work.
Who Made This Thing and Why?

I won’t bore you with the entire history, but the De Dion Axle was invented sometime in 1894 by the De Dion-Bouton automobile company. It wasn’t Jules-Albert de Dion who created it nor was it made by co-founder Georges Bouton. It was Bouton’s brother-in-law, Charles Trepardoux, that came up with the design. The idea was first used in their steam tricycle and the entire history of De Dion-Bouton is quite interesting but outside the scope of this story.
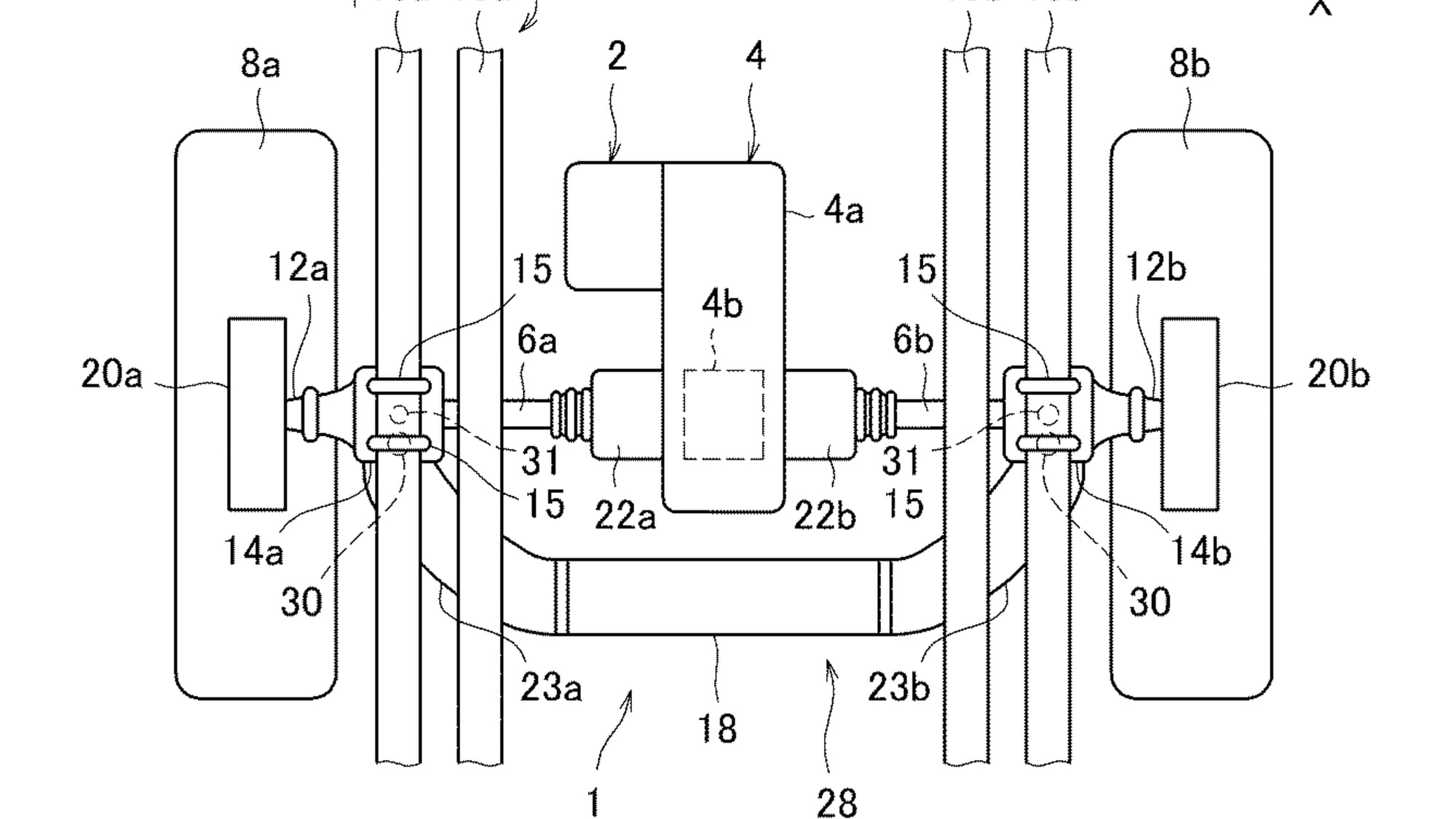
Why is it so Weird?

I promise you–the De Dion axle is designed this way on purpose. The main advantage of the De Dion is in the reduction and movement of mass versus a live axle, better known as the “straight axle” or the “Hotchkiss Axle” that you probably didn’t know was its official name. First, the movement of mass is reduced thanks to the heaviest part–the differential–being solidly located to the frame or subframe of the vehicle. For some vehicles (like those De Dion-Bouton tricycles and quadracycles), that also includes the engine or the motor (like the Slate Auto Truck).
That moving mass I just described is exactly what people mean when you hear them talk about unsprung weight and the advantage of the De Dion axle. The only parts moving are now the hubs that connects to the wheels, the axle shafts that connect to those and the outputs, the solid tube that connects each hub together, and the rest of the supporting suspension components. This can make for a more comfortable ride as well as one that is more predictable for chassis engineers.
If It’s Like an IRS, Why Put a Hard Connection Between the Wheels?

That hub-connecting tube also plays a key role in why the De Dion axle works well for anything designed to carry a load versus an IRS (independent rear suspension). As you put weight over the axle, the body and suspension points connected to it begin to move towards the ground as gravity pulls on that mass. For an IRS, the outer points of the suspension react to that motion by tracing an imaginary arc. Unless these arms are somehow designed with an infinite arc, the arms effectively “become shorter” as these arcs pull the outer points inwards towards the body of the vehicle. This can not only affect the toe (the point of the front of the tire versus a parallel line to the chassis), but also the camber–the point of the top of the tire either pointing inwards for negative camber or outwards for positive camber.
If you’re building a vehicle designed for heavy loads, you don’t want that. You want the wheels to remain straight (or as straight as the OEM deems for tire wear) in both toe and camber–there is also a catch to this I’ll explain with leaf springs. This is the advantage that both the live axle and De Dion axle have over IRS or even TTB. By connecting both hubs by a straight tube, camber and toe are locked no matter how low or loaded the body gets. But there is a problem, and you might already be able to see it. If not, grasp a ruler or pen in your hands and try to move just one hand upwards. You’ll quickly find that you can’t unless you also tilt your other hand. That’s also what’s happening to those connected wheels, as one wheel moves up or down, the other wheel must follow.
What About the “Packaging” That You Keep Hearing About?

Depending on who you ask, you’ll also hear mentions about how much easier it is to package a De Dion axle. That’s possibly an overstatement in a general regard, but there is also some truth to that. When it comes to using a De Dion, it can be used with the same sort of suspension components that a live axle can use. Leaf spring, coil springs, three link with a Panhard rod, triangulated four link–if you can do it to a solid axle, the De Dion can use it. That also means that you’ll have the same disadvantages those suspension systems have over an IRS system ranging from the need for a lateral link (like the Panhard rod, Watt’s link, or Jacobs Ladder systems) to the changes to toe that happen with a leaf spring system.
Wait, the Toe Changes on a Leaf Spring Axle?

Yes, I know that earlier I said that toe doesn’t change with the live and De Dion axles, but that’s not entirely true. The leaf spring can allow for toe changes because of how it works. The leaves of a leaf spring stretch when they compress and that necessitates the use of a movable shackle that you may have seen on the rear portion of a truck’s frame. With the axle (or tube for the De Dion) connected directly to the leaf spring, the axle will also move in the direction of that stretch.
Remember from that demonstration earlier that the wheel opposite of that moving wheel will still move in the same direction, same thing will happen here for toe as the axle moves within the compliance of the rubber in the spring eyes, shackles, and even the leaves themselves. On rear-hung shackles, the wheel on the spring that is stretching will toe out while the opposite wheel will toe in. Front-hung shackles (like old Jeeps and 4WD trucks with front live axles) will work in reverse with the stretching leaf’s wheel toeing in and the opposite wheel toeing out. There are ways to mitigate this toeing, but that’s beyond the scope of this story.
Is the De Dion Axle Still in Use Today?

Yes, it is. The most recent production use has been the all-electric version of the Mercedes G-Class and its rear axle, thus proving that the De Dion axle is suitable for use on a traditional live axle setup. Some city cars like the Smart ForTwo, ForFour, and related third generation Renault Twingo also utilize a De Dion rear axle in both its ICE-powered and all-electric versions. Ford had allegedly considered using a De Dion on the 2022 F-150 Lightning but elected not to. However, its 1998 to 2002 Ranger EV did utilize the system with composite leaf springs and a Watt’s link lateral link. Now, EV West offers salvaged Ranger De Dion axles for use in EV conversions that want the simplicity of just swapping in this system with a electric motor mounted to the chassis.
Now, with Slate Auto making its debut, it will be the latest OEM to use a rear De Dion axle over a live e-beam axle for the advantages mentioned in this story. That’s despite the many disadvantages this and live axles impose.
Comments ()